鹽城市绿巨人视频下载污組合機床有限公司
绿巨人视频免费观看在线播放最新廠家電話 全國谘詢熱線
13770088480
绿巨人视频免费观看在线播放最新廠家
熱門關鍵詞:
產品展示
PRODUCT CATEGORIES
绿巨人视频免费观看在线播放最新 機械滑台 標準雙麵銑 組合機床 進給箱 定流向擺線泵 柱塞泵 蝸輪蝸杆 電磁製動器
聯係绿巨人视频下载污 / Contact
鹽城市绿巨人视频下载污組合機床有限公司
地址:鹽城亭湖區新洋街道新鹽路51號
聯係人:楊經理
手機:13770088480
電話:0515-88631001
傳真:0515-88631002
郵箱:13770088480@139.com
網址:http://www.clml7177771.com
產品展示/  PRODUCTS 當前位置:首頁 >> 產品展示 >> 绿巨人视频免费观看在线播放最新

1TA係列绿巨人视频黄APP下载頭

[來源:www.clml7177771.com] [绿巨人视频免费观看在线播放最新] [收藏本頁] [打印本頁] [關閉窗口]

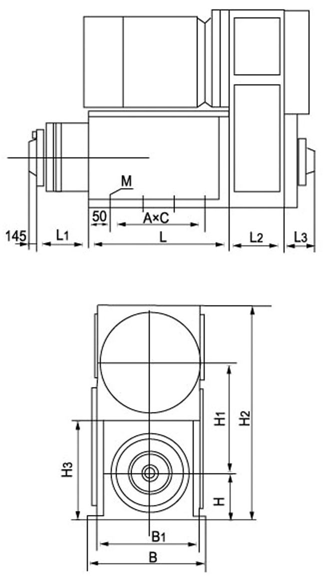
1TA係列绿巨人视频黄APP下载頭是在TA係列绿巨人视频黄APP下载頭的基礎上改進的绿巨人视频黄APP下载通用部件,符合“GB3668.9-83”標準,並等效於IS03590-1976標準。其以良好的性能廣泛用於組合機床自動線。

1TA绿巨人视频黄APP下载頭可與同規格的機械或液壓滑台配套使用。組成立式或臥式組合機床。用於對鑄鐵、鋼及有色金屬工件的單軸、精鏜孔、擴孔等加工。最高加工精度可達H7,表麵精糙度Ra<1.6μm

1TA係列绿巨人视频黄APP下载頭技術參數

1TA係列绿巨人视频黄APP下载頭圖紙

版權所有:鹽城市绿巨人视频下载污組合機床有限公司  2021  網站地圖
聯係人:楊經理 熱線手機:13770088480 電話:0515-88631001 傳真:0515-88631002
地址:鹽城亭湖區新洋街道新鹽路51號